(一) 为机关提供支持保障的职责 1.负责统筹气象卫星用户需求;拟订我国气象卫星和卫星气象事业的发展规划;研究提出我国气象卫星的技术发展要求;负责拟
目前已有的普通热偶真空规受环境动态热学因素的影响较大,因而测量精度低,误差大,只能做为一种粗略的测量仪器。还有一种自补偿热偶真空规,当用二只总功率为
热堆规是种结构的热偶真空规管。它有种温度补偿系统,克服了般热偶真空规管真空读数受环境温度影响的弊端。它能给出确可靠且不受环境温度影响的真空压强读值。
星思半导体自2020年正式成立以来,精准把握政策导向与产业机遇,以“5G万物互联连接芯片”为核心定位,毅然布局卫星通信终端芯片领域,致力于通过核心技
绿色能源也称清洁能源,是环境保护和良好生态系统的象征和代名词。它可分为狭义和广义两种概念。狭义的绿色能源是指可再生能源,如水能、生物能、太阳能、风能
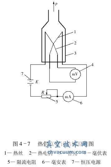
热偶真空计是借助于热电偶测量热丝温度的变化,用热电偶产生的热电势表征规管内的压力。DL-3型热偶规管的压力测量范围为10 热偶线所示。它由
服务热线
截屏,微信识别二维码
微信号:
(点击微信号复制,添加好友)
打开微信